Hinweise & Preise
|
Gehäusematerial: |
19 mm Span- oder
MDF-Platte |
|
Frästiefe TT: |
4,0 mm |
|
Frästiefe HT |
4.0mm |
|
Ausbruchdurchmesser für Reflexrohr: |
72 mm |
|
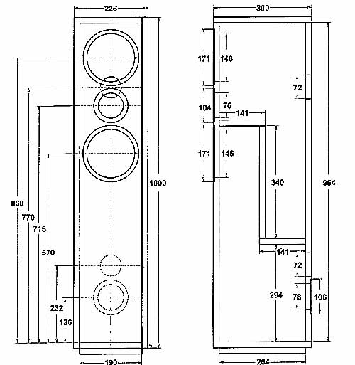
Seitenwand 1 |
1000 x 300mm |
|
Seitenwand 2 |
1000 x 300mm
|
|
Deckel |
190 x 300 |
|
Boden: |
190 x 300 |
|
Schallwand: |
964 x 190 |
|
Rückwand |
964 x 190 |
|
Zwiaschenbrett (2x) |
141 x 190 |
|
Zwiaschenbrett |
340 x 190 |
|
Sockelplatte |
264 x 190 |
Bedämpfung: Lockere Füllung mit
Polyestervlies. Der Bereich um das Reflexrohr bleibt dabei
frei. Baßreflexrohr: BR 70 muß auf 140 mm Länge gekürzt
werden. Frequenzweichenmontage auf Terminal T105S und Rückwand ist
möglich. |
|
Gehäusefarben
|
DM / Stk |
EURO /
Stk |
|
• A • MDF roh |
323,00 |
165,15 |
|
• B • |
538,00 |
275,08 |
|
• C • |
697,00 |
356,37 |
|
• D • |
|
|
|
• E • |
578,00 |
295,53 |
|
• F • |
753,00 |
385,00 | • B •
Seidenmattlack schwarz, weiß, blau o. rot
• C • Seidenmattlack jede RAL-Farbe
möglich
• D • Esche schwarz, weiß
• E • Buche furniert
klarlackiert
• E • Kirsche furniert
klarlackiert
|